日本人均GDP在亚洲的领先还能持续多久?
原创: 深圳宁南山
来源:宁南山
我们先看下全球究竟有哪些制造业大国,或者说工业大国。
前不久在网上有个说法,说十大工业国只有中国是顺差,其实这个说法并不准确,目前在全球不管是十大工业国,还是十大制造业大国,顺差都不只有中国。
工业和制造业在概念范围上是不一样的,工业的范围要大于制造业,工业包括采矿业,制造业以及电力、热力,燃气及水的生产和供应业。所以看工业增加值的话会比制造业增加值高,像一些自然资源丰富的国家,其工业中采矿业就会占比较高的比重。因此我个人认为看十大制造业国家更有意义。
前不久网上流传的全球十大工业国最近只有中国是顺差,我看了下名单里面居然有巴西,这是错误的,全球十大工业国和十大制造业国家都是美德英法意+中俄印+日韩,都没有巴西,名单把俄罗斯替换成巴西了是个错误,而俄罗斯也是顺差。
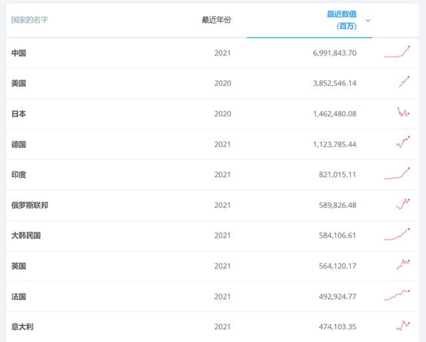
应该是这样的:“最近十大工业国有8个出现了逆差。”全球十大工业国排名是:中国,美国,日本,德国,印度,俄罗斯,韩国,英国,法国,意大利,如下图所示。

全球十大制造业国家排名是:中国,美国,日本,德国,韩国,印度,意大利,英国,法国,俄罗斯。

实际上2021年巴西工业增加值只能排全球第16位,制造业只能排全球第17,墨西哥,加拿大,印尼不管制造业还是工业增加值都在巴西之上。
当然这里多讲一句,加拿大都没进世界前十,为何加拿大会在G7七大工业国里面?
全球十大工业国和制造业国家都是美德英法意+中俄印+日韩,G7把中国,俄罗斯,印度,韩国都排除在外,另外像印尼不管是工业增加值还是制造业增加值都比加拿大高(2021年工业增加值印尼全球第11,加拿大全球第12,墨西哥全球第13)。
而墨西哥尽管工业增加值略低于加拿大,但2021年制造业增加值也是比加拿大高的,2021年制造业增加值墨西哥全球第11,印尼全球第12,加拿大低于它们。所以G7其实代表性和对全球的影响力越来越差。
我们再说下日本,日本自从明治维新之后,加上连续取得对中国和俄国的战争胜利,以及一战时期趁着欧洲列强火并的机会经济迅速发展,我们在教科书上看到一战时期由于欧洲帝国主义列强忙着打仗,暂时放松了对中国的侵略,因此中国的民族工业实现了较快的发展,可以说是一个春天,但其实我们隔壁的日本同样也借助这个机会获得了快速发展。
不仅如此日本还趁机从战败的德国手中夺取了我国的青岛。
正是一战时期的快速发展,日本历史上首次工业产值超过了农业产值,成为了一个工业国。所以说日本的工业化是什么时候完成的,我们可以说在一战之后就已经可以称为一个工业国了,尽管此时的日本工业水平和技术实力比起欧美列强还有较大的差距,真正的整体工业技术能力赶上欧美还得是战后的六七十年代以后了。
我们不看香港,澳门,新加坡,以色列这些人口只有几百万的小地方,日本的人均GDP一百年来长期在亚洲居于领先地位。
但这种优势并不能永久的保持下去,
中国台湾和韩国人均GDP不断逼近日本
根据IMF(国际货币基金组织)的数据
1995年日本人均达到四万多美元,台湾是日本的29.6%,韩国是日本的28.4%
2000年台湾是日本的37.88%,韩国是日本的31.3%
2005年台湾是日本的43.44%,韩国是日本的51.3%
2010年台湾是日本的42.35%,韩国是日本的51.13%
2015年台湾是日本的64.98%,韩国是日本的82.09%
2021年台湾是日本的85.87%,韩国是日本的88.46%
在过去的二十多年,中国台湾和韩国的人均都从日本的30%左右上升到了日本的85%以上,今年由于日元贬值,我们看最终能达到多少。有一个大的趋势是肯定的,那就是日本的人均GDP在东亚长期领先的局面是不可持续的,韩国和台湾都将会逐渐赶上日本的水平,
不仅如此,中国国内第一梯队的省市人均GDP必然会赶上和超过日本。
实际上我有一个更为大胆的猜想,就是我认为未来中国的人均GDP也将超过日本。
根据IMF数据,2021年中国人均GDP是日本的31.42%,相当于90年代台湾地区和韩国相对日本人均的占比。
我们参考美国的人均GDP超过了欧洲的主要国家和日本,今年(2022年)人均将为7万多美元,是日本的2倍以上,是欧洲主要经济大国(德国,法国,英国,意大利等)的1.5倍以上。
尽管美国的人口最多达3亿人以上,但是人均GDP却超过了仅有1.2亿多人的日本,以及人口几千万人的德国,英国,法国,意大利等国。
其背后的原因,就是因为过去几十年能够产生巨大经济价值的新兴经济高度的集中在美国,蓬勃发展的互联网社交媒体,电子商务,搜索引擎,电动汽车,智能手机/平板电脑/笔记本电脑,半导体,商业航天,云计算等等,而欧洲和日本并没有从中分到多少羹。
我在之前的一篇文章里面写过,在电子行业美国不仅仅是在半导体领域领先,在电子品牌领域美国几乎在各个方面都占据着全球最大的份额或者最多的利润。
从中美电子品牌全球份额对比看我国的一些风险
美国面对欧洲和日本在人均GDP方面的优异表现也说明了一个道理,新兴的高科技产业在价值创造方面是远远超过传统行业的,
我们从中国的产业发展也可以看出来,传统行业的工程师,即使比较有经验的一般也就是一二十万人民币,而像芯片设计行业,有着10年工作经验的目前已经可以年薪过百万了。
这种薪资水平上的巨大差异也驱动着优秀的人才进入新兴高科技行业,同时也缓解传统行业的竞争,总体是有很大好处的。
日本这些年在新兴产业上发展并不顺利,没有诞生出全球知名的优秀新兴公司,反而原有的优势产业—汽车产业面临着来自全球电动汽车迅速发展的巨大挑战。
在半导体行业方面,由于过去几年全球半导体行业处于黄金时期,在半导体设备和材料方面具备优势的日本企业也得到了较快的发展,但总的来说这个优势也是日本在多年前就已经奠定的。
就以半导体设备为例,日本每年能从半导体设备销售赚多少钱?中国与之差距有多大?
根据日本半导体设备协会(SEAJ)公布的数据,他们预计2022年(2022年4月-2023年3月)日本半导体设备公司的销售额合计能够突破4万亿日元(4.0283万亿日元,不知道为啥一个预测值能精确到这个程度,可能是工匠精神吧),按照当前汇率(1日元=0.051人民币)换算成人民币的话大约2054亿人民币。
而从图中可以看到,从2017-2019年,日本半导体设备公司的销售额徘徊在2万亿日元左右,从2020-2022年连续三年高速增长,膨胀到了4万亿日元(也就是大约2050亿人民币多点)。

目前日本半导体设备全球份额在30%左右,仅次于美国,位居全球第二位,而在半导体材料领域日本则是全球第一位。半导体设备领域2021年日本厂家按照营收排名为:
东京电子(全球第三),爱德万(全球第六)、日本SCREEN(全球第八)、
日本日立高科(全球第十)、日本迪斯科(全球第11)、日本尼康(全球第13)、日本Kokusai Electric(全球第15)。总共有4家在全球前十位,7家在全球前15位。
另外日本这7家在全球前15位的半导体设备厂家里面东京电子的体量规模是遥遥领先的,其2021年的营收超过了其余6家营收之和。
中国半导体设备厂家是什么水平?估计2022年中国半导体设备厂家营收加起来大约300亿人民币左右,是日本的大约15%左右,差不多七分之一的水平。
从以上的数据可以看出,就以半导体设备这个行业为例子,日本占了全球30%的份额,日本所有半导体设备企业一年也就是大约2050亿人民币左右的营收,如果论增加值的话就是一千多亿人民币了,可以认为就是两三百亿美元。
而总体而言,日本像半导体设备这样有一定的市场规模,同时日本又对中国企业拥有如此巨大的绝对优势(日本企业营收是中国企业的六七倍)的行业并不多,可以说非常少了。
而中国公司在这个领域进步非常快,这种六七倍的优势显然是不可持续的。
像以前我们认为遥不可及的日本游戏,今天来自中国的手机游戏都已经反攻进日本本土了。
根据第三方数据统计机构Sensor Tower发布的2021年日本手游市场排行榜,
去年日本移动游戏市场收入创下新高,达到184.5亿美元,成为仅次于美国的全球手游收入第二大市场。
其中日本本土的Cygame发行的《赛马娘》同时位列下载榜和收入棒第一。
而中国厂商米哈游的《原神》、网易的《荒野行动》和有爱互娱的《放置少女》进入日本手游的收入榜前十名。
日本手游收入增速榜前10名中,共有6款手游在日本市场收入增长超过1亿美元。其中,《赛马娘》位列收入增长榜第一,而来自中国米哈游的《原神》上线一年多之后,则在收入增速榜上也是仅次于《赛马娘》,位列第二名。
据Sensor Tower统计,去年一共有30款中国手游产品进入日本畅销榜前100名,共计获得营收34.6亿美元,占该榜单Top 100产品总收入的25.9%。
日本作为全球第二大手机游戏市场,居然四分之一的收入被中国厂家拿走了,要知道手机游戏厂家提供的可都是高薪岗位,这在以前可是不可想象的,几十年前我们在游戏厅和家里面玩的可都是日本游戏,
我们的思维总是会被现有的格局所束缚,我认为只要日本继续没有抓住新兴产业的机会,再加上日本原有的产业优势在逐渐被侵蚀,因此未来总体人均GDP被中国超越的可能性非常大,实际上我认为未来中国的人均GDP会超过日本和欧洲的平均水平,但是赶上美国困难较大。
因为美国客观上手里有大量的新兴高科技产业,除非我国吃下来的份额比美国高很多,人均才有可能超越,毕竟我国人口是美国的4倍,但短期内看不到太大的希望在高科技领域产出能达到美国4倍这样的压倒性优势,
就说智能手机吧,全球品牌就是中美韩了,但是美国的苹果,现在我国华为被制裁了,国内还有哪家能够超过苹果的?现在是看不到的,更不要说形成4倍的优势。
还有谷歌的搜索引擎和安卓,亚马逊的云计算,英特尔和高通的芯片,特斯拉为代表的电动汽车产业等等,这些都是比较新兴的或者是高科技产业,短期内我们还看不到说形成对美国的很大优势。
当然我也承认,目前的论据还不足以支撑中国人均GDP一定会超过日本这个结论,还需要继续观察产业的表现,但至少目前我们可以肯定的,中国国内的第一梯队地区人均GDP一定会超过他们,毕竟2021年像北京,上海,广州,深圳,苏州,杭州,宁波,南京等14个大城市人均已经超过2万美元了,如果我们把全国的小城市也算上,则全国已经有27个城市人均GDP超过2万美元,而2万美元已经是发达国家的门槛了。
而未来的东亚地区,我们大概可以做一个如下的估计:
1:日本,韩国,中国台湾地区的人均GDP将逐渐达到同一水平,2021年台湾是日本的85.87%,韩国是日本的88.46%,今年由于日元贬值,这个差距还会继续缩小。
2:中国大陆由于人口众多,地区差异大,因此第一梯队地区的人均GDP一定会超过日本。
虽然我认为最终中国全国的人均GDP也会超过日本,但是这个问题的答案可能要过几年才能更加清晰,毕竟2021年我国人均GDP只有日本的31%多点,当然了2022年由于日元的贬值,而我国上半年经济增速2.5%,今年人均还是会继续增长,因此今年我国人均GDP相对日本的占比会继续上升。
接下来在制造业领域,就是看中国和日本在汽车和半导体两大产业中的表现,而中国除此之外还要看商业航天,国产民航客机,互联网企业出海,云计算,医疗器械和制药等产业。像C919国产大飞机,今年应该就能首架交付航空公司了,这是日本目前无法达成的成就。
其实先不说中日人均的对比变化,单纯从非常长远的角度看,
我觉得我们作为个人还是要坚持锻炼身体,保持身体健康活的更久,我们才能看到更多激动人心的未来,就拿上面提到的产业来说吧,
汽车产业的自动驾驶普及,包括卡车的无人自动驾驶普及;
医药行业的攻克癌症,艾滋病,近视等难题;
商业航天领域实现成本大幅度下降,人类可以以单人几十万,甚至几万人民币的成本实现几百公里高度的近地轨道旅游和航行….
这些领域一旦突破,都将带来产业的大爆发,创造出极高的价值,众多的高薪岗位,以及对人类生活方式的巨大改变,只是目前我们对这一天在何时到来还无法判断。
觉得这里面自动驾驶会最先突破和普及,一二十年内我们能够看到一个比较大的变化。
今天是一些随想和漫谈,总之人类新产业的出现,其带来的增加值将远远的超过原有的产业,就跟在农业时代中国长期是全球第一经济大国一样,我们以几千万乃至数亿人的人口占据全球第一,后来者靠种地如何可能超越我们呢?
结果人口只有中国十分之一的日本,就凭着工业使得经济总量居然一举超过了中国,甚至在上世纪九十年代其经济总量一度是我们的九倍之多,日本爆发出如此巨大的能量,依靠的就是汽车,电子,家电等先进的新兴产业,而中国当时在这些领域还极其弱小。
这对于我们个人也是有借鉴意义的,还没有工作的学生,应该选择毕业后能去新兴产业的专业,
而已经工作的人,应该想办法跳槽到新兴产业的公司,或者从事新兴高科技产业相关的岗位,这会给我们个人带来想不到的巨额收益。
我自己,以及身边很多人也是这方面的受益者,其实干的是同样的活,能力也不见得就突然飙升了,就是因为换了个行业,换了个公司,长期下来收益就能够差数倍,甚至有的人因为赶上了分股票,收益差在10倍以上。
以上是今天的一些随想。

