丝芭传媒现存多个合同纠纷 原告包括鞠婧祎马玉灵



赵粤于生日直播中正式宣布与丝芭传媒解约,结束长达十年的合作关系。双方以体面方式告别,丝芭传媒随后转发其声明并祝福赵粤。
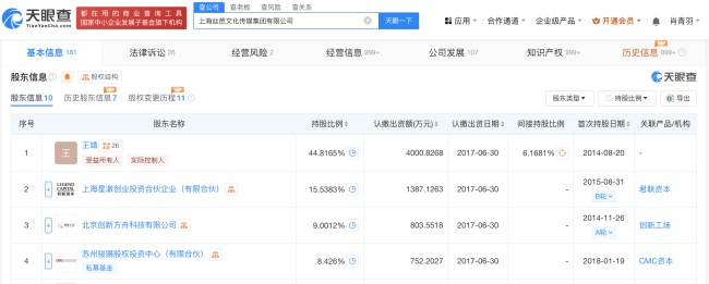
天眼查App显示,上海丝芭文化传媒集团有限公司成立于2010年5月,法定代表人为王靖,注册资本约8927.1万人民币,经营范围包含营业性演出、演出经纪、广播电视节目制作经营等,由王靖、上海星澈创业投资合伙企业(有限合伙)等共同持股。司法案件信息显示,该公司涉及多个合同纠纷案件,原告包括马玉灵、赵佳蕊、鞠婧祎等,上述案件将于今年5月、6月开庭。
相关文章
-
杜淳妻子王灿发文否认家暴:是我为家暴的人发声
近日,杜淳妻子王灿发文否认自己被家暴,更是解释是因为网友的误会,她写道:“一觉醒来要被有的营销号笑死,你看看你们自己写的是啥,我说怎么有的粉丝艾特我私信我安慰我还要抱抱我...
2025-05-01 09:20:16 的人我为发文 -
丝芭传媒现存多个合同纠纷 原告包括鞠婧祎马玉灵
赵粤于生日直播中正式宣布与丝芭传媒解约,结束长达十年的合作关系。双方以体面方式告别,丝芭传媒随后转发其声明并祝福赵粤。...
2025-05-01 09:20:14 多个原告合同纠纷 -
章若楠方发布严正声明 从未参与任何番位操控行为
章若楠方发布严正声明,在声明中,章若楠方否认参与番位操控,为了避免不实信息进一步扩散,已经第一时间与各影视剧方、平台进行了沟通。此外,在声明中还有其参演的两部剧的剧方回应。...
2025-05-01 09:20:10 严正从未声明 -
金灿荣:折腾百日后,特朗普只能从“全面进攻”转向“重点进攻”
编者按:特朗普第二任期已历百日,而其暴风骤雨般的行政令和“创造性”的政策想象力,不仅让全球金融市场上下起伏,也让美国国内民众对其支持率快速下跌。4月27日,美国广播公司、《华盛顿邮报》以及益普索集团联合进行的一项最新民意调查结果显示,特朗普的执政百日支持率为39%,这一数字创下过去80年来美国历任总统的最低执政百日支持率。针对特朗普执政百日的乱象以及政策得失,观察者网连线了人民大学国际关系学院教 观察者网:在经济方面最引人注目的就是其关税政策,美国对全球以及对华关税战无疑是其最大的特点。最近美方不少人提到...
2025-05-01 09:11:10 移民任期美国 -
艾玛·阿什福德:特朗普“百日执政”的外交乱象,背后是这两派人的内斗?
弗拉基米尔·列宁曾说过:“有时候几十年里无事发生,有时候几周内发生了影响几十年的大事。”按这个标准衡量,在二次执政的头一百天里,特朗普政府给美国外交带来了相当于至少二十年的变革。本届美国政府奉行“动作迅速、不破不立”的外交方针,可唯一的连贯性仅仅体现在执行层面的混乱。美国对全球重大冲突的立场出现剧烈摇摆:迅速转向与俄罗斯谈判、推动加沙地带停火、时而威胁对伊朗采取军事行动,时而提出重启伊核协议谈判 第三种可能的解释模型需要我们回顾特朗普第一个任期。事实上,这正是国会共和党人、华盛顿外交界人士的普遍观点——正...
2025-05-01 09:10:57 美国政府政治 -
布萨尼·恩戈卡维尼:南非,该长大成人了-布萨尼·恩格卡维尼
2025年4月27日,南非迎来民主31周年纪念日,站在一个决定性的十字路口。那个对新生自由充满忐忑、以“彩虹之国”身份自我陶醉的年代,早已成为过去。如今,如同一个已无法再被庇护的成年人,这个国家必须接受有意识的行动、痛苦的责任和持续的自我认知。民主初期,南非曾洋溢着乐观情绪,享受着世界慷慨的善意。南非从种族隔离的阴影中走出,以和平转型、进步宪法和和解精神震撼了世界。就像一个被社区关爱呵护的孩子,...
2025-05-01 09:10:52 南非民主国家 -
丁铎:挑事南海、染指台海,小马科斯为何越来越过火?
近期,菲律宾在南海问题、台湾问题以及与部分域外国家军事安全合作上展现出复杂而令人担忧的政策动向。这些动向既反映了小马科斯政府在当前国际和地区局势下的心理焦虑,也暴露了其试图迎合域外势力在敏感问题上挑衅刺激中国的战略误判。同时,这也是菲律宾国内一些政客妄图通过打所谓的“中国牌”来拉抬中期选举的选情,为自身牟取政治私利。菲律宾在铁线礁挑衅必遭反制 铁线礁位于南沙群岛北部,靠近南沙群岛中业岛,是中国固 从菲美合作来看,菲律宾和美国日前开启的2025年“肩并肩”年度军事演习,被外媒视为在中菲关系持续紧张的情况下,...
2025-05-01 09:10:39 菲律宾铁线中国 -
观学院直播厅| 青年谈(上):这届特朗普政府,凑齐了五颜六色的“愚蠢”-毛克疾、杨升、施洋
“贸易战”战鼓擂响,中美实力转换正加速重构世界版图:从东升西降的引力偏移,到科技长征的攻守易势;从产业链重组、货币暗战到文明话语权争夺,百年变局已化作你我指尖可感的时代脉冲。在这堂由特朗普掀起的“贸易战”课程里,青年一代能学到什么?站在时代的转折点上,成为历史的见证者、参与者时,青年一代又能做些什么?观察者网直播厅推出青年版,邀请清华大学社会科学学院博士生毛克疾,资深媒体人、国际问题评论员杨升、 施洋:说到美国这届政府的工作能力,是个很有意思的事情。马斯克上来以后搞所谓的政府效率部,大刀阔斧地裁减美国所谓...
2025-05-01 09:10:26 美国中国中美 -
索马里禁止台湾公民入境?外交部回应
路透社提问,台湾方面称,索马里因对台湾与索马里兰发展关系不满,禁止台湾公民入境。索马里此举是受到中方压力。外交部对此有何回应?郭嘉昆表示,中方注意到,近日索马里联邦政府根据索联邦宪法和联合国大会第2758号决议,宣布禁止持台湾当局签发的旅行证件人员出入境或过境索马里,重申索方恪守一个中国原则,强调台湾当局同索马里兰互设所谓“代表处”并开展官方往来直接侵犯索马里主权和领土完整。郭嘉昆说,上述决定是...
2025-05-01 09:10:22 索马里台湾中方 -
美乌终于签了矿产协议,最后一刻仍在“拉扯”
【文/观察者网 熊超然】当地时间4月30日,据美联社报道,几经波折之后,乌克兰和美国终于在当天签署了矿产协议。此前一周,美国总统特朗普对乌克兰继续施压,希望乌方通过这一协议“补偿”美方在俄乌冲突中提供的数十亿美元军事和经济援助。尽管美乌双方只透露了协议框架的基本信息,但预计该协议将使美国获得乌克兰境内宝贵的稀土矿产,并以求确保美国在俄乌冲突中继续支持基辅政权;同时,美国将为乌克兰重建提供投资基金...
2025-05-01 09:10:13 乌克兰协议美国

