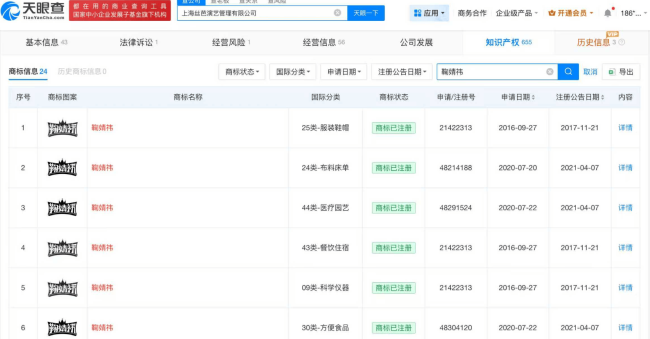
丝芭仍持有鞠婧祎姓名商标 当前状态均为已注册


据报道,12月16日,鞠婧祎工作室联合律师连续发布声明,明确指控前经纪公司丝芭传媒伪造合约、恶意诉讼,并强调双方经纪合约已于2024年6月15日依法解除。
天眼查知识产权信息显示,上海丝芭演艺管理有限公司已注册多枚“鞠婧祎”商标,国际分类涉及服装鞋帽、布料床单等,当前商标状态均为已注册。
相关文章
-
陈宥维恋情疑似曝光 与女生共同现身两人互动暧昧
有相关媒体曝光陈宥维疑似恋情。视频中,陈宥维和一粉裙女生一同现身,等红绿灯时戳了戳女生的肚子。两人打车到饭店用餐,之后又一起牵手散步,到商场里逛街。...
2025-12-19 09:21:40 两人互动恋情 -
丝芭仍持有鞠婧祎姓名商标 当前状态均为已注册
据报道,12月16日,鞠婧祎工作室联合律师连续发布声明,明确指控前经纪公司丝芭传媒伪造合约、恶意诉讼,并强调双方经纪合约已于2024年6月15日依法解除。...
2025-12-19 09:21:34 均为姓名状态 -
韩国演员刘亚仁被传将复出 曾因吸食大麻等被判刑
据相关媒体报道,韩国演员刘亚仁将曾经导演《破墓》张宰贤导演执导的新电影《Vampire》回归,该电影预计将于明年下半年开始拍摄。对此,刘亚仁经纪公司则回应称,“尚未确定任何事。...
2025-12-19 09:21:31 大麻被判曾因 -
丝芭传媒拖欠鞠婧祎发型师费用案败诉 需赔付劳务费9000元
鞠婧祎工作室联合律师发布声明,明确指控前经纪公司丝芭传媒伪造合约、恶意诉讼,并强调双方经纪合约已于2024年6月15日依法解除。丝芭传媒发布说明,并公布鞠婧祎相关待遇和收入。...
2025-12-19 09:21:27 劳务费发型师费用 -
演员夏于乔官宣怀孕:现在开始心跳声有了两种节奏
演员夏于乔官宣怀孕,她称“我在2025年年末终于得到了最大的奖”,并深情告白自己的孩子“谢谢你来到我身边,谢谢你让我开启了新的旅程,虽然有许多未知与冒险,但这个新身份...
2025-12-19 09:21:22 两种心跳声节奏 -
鞠婧祎同期生曾艳芬发声 透露丝芭传媒不尊重粉丝
身为鞠婧祎同期生SNH48前成员曾艳芬发文谈及其与丝芭传媒的合约纠纷,称鞠婧祎并未见过丝芭传媒提及的补充协议,“这不是坑骗小女孩嘛”,此外,她还透露公司想融资上市时期...
2025-12-19 09:21:15 同期粉丝传媒 -
杨宗纬被曝已经当上父亲 身旁有名3岁左右的男孩
据相关媒体报道,在杨宗纬身旁有名3岁左右的男孩,小男孩有一张混血的脸孔,而且轮廓与杨宗纬相似。此外,根据媒体报道,除了与杨宗纬互动,甚至曾听过小朋友叫他“阿爸”。...
2025-12-19 09:21:13 当上有名身旁 -
SHINee成员Key承认接受非法治疗 宣布暂停所有活动
据韩国媒体报道,成员Key承认在诊疗机构之外接受过非法治疗,宣布暂停所有活动,从参与的综艺节目中下车,并发文道歉。...
2025-12-19 09:21:11 成员SHINeeKey -
温峥嵘再发律师声明回应被盗直播片段
温峥嵘方再次发律师函回应被盗用直播片段,声明中她的律师表示这严重侵犯了委托人的合法权益。此外,温峥嵘方呼吁社会公众及网络用户保持理性,提高对网络信息的甄别能力,不信谣,不传谣。...
2025-12-19 09:21:06 峥嵘再发片段

