《哪吒2》票房突破50亿 出品方已注册多枚相关商标




据网络平台数据,《哪吒之魔童闹海》总票房(含点映及预售)已突破50亿元,即将追平《哪吒之魔童降世》所创造的50.35亿元票房。公开信息显示,《哪吒之魔童闹海》由光线传媒主投。
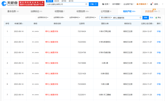
天眼查知识产权信息显示,光线传媒(300251)旗下北京光线影业有限公司已成功注册多枚“哪吒之魔童闹海”商标,国际分类涉及教育娱乐、餐饮住宿、广告销售等。此外,该公司还注册了多枚“魔童哪吒”“哪吒降世”“魔丸哪吒”“哪吒之魔童降世”商标。
相关文章
-
“外卖战”背后,东哥的“权力游戏”!
来源:圆方你怎么看啊微信ID:yflooklook012025年的春天,当刘强东身着骑手服亲自配送外卖的照片刷屏社交平台时候,当东哥有了新的一起吃火锅的“兄弟们”的时候,当京东举起了“替天行道”“为民除害”的大旗的时候。这场刷屏的“外卖战争”,早已超出了商业竞争的范畴。今天我们一起换个视角,去看看可能存在的一场关于权力重构的剧本:离京东决策层两年多的东哥,或许正以“对外战争”为名,重演着历史上君主收拢权柄的经典戏码。02翻开人类组织史,对外战争始终是重构内部秩序的最短路径 。拿破仑通过意大利远征将雅各宾派...
2025-04-24 14:08:26 外卖东哥权力 -
那位西方大佬去世,让人想起一位东方大佬!
作者: 虚声来源:虚声(公众号ID:lxlong20)已获授权转载舆论界,美国副总统万斯被调侃为“有毒”。因为他嘴巴毒,做事风格也激进。前几天出访意大利,又尝试着扯下几块欧洲的遮羞布。他此次意大利之行,之所以会成为舆论界焦点,并非是因为国事访问,而是见了一位大佬。4月20日复活节当天,万斯从意大利跨国到梵蒂冈,去会见了教皇方济各。就这件事本身而言,非常乏味。因为整个会见过程只持续了几分钟,刚好够摆造型拍照。随后万斯的车子又返回意大利。从意大利跨国去梵蒂冈,会见教皇,再从梵蒂冈返回意大利,万斯一共用了17分...
2025-04-24 14:08:23 大佬让人那位 -
马斯克熟读中国历史!
作者:叶立华来源:求实处(ID:gh_a2f5eb6a8f0c)最近马斯克公开表态和特朗普的分歧,主要是因为看了点历史。 在特斯拉公司财报电话会议上,马斯克说他希望看到更低的关税,但决定权在特朗普手中。 还有就是,从五月开始,他在特朗普政府“政府效率部”(DOGE)投入的时间将显著减少到每周用“一两天”处理政府事务。 当然马斯克还是表态了,说自己对特朗普的支持不会改变,尽管今年特斯拉股价下跌超过40%,他将继续支持特朗普总统通过DOGE来遏制浪费。 这段时间的马斯克从了政,遇到了攻讦,也有内阁的争吵,搞了...
2025-04-24 14:08:19 中国历史马斯克 -
要把几件事放一起看,别错判川普真认怂!
作者:肖仲华来源:肖仲华开讲(ID:xiaozhweixin)在川普公开要求美联储主席鲍威尔辞职,并宣布对东南亚光伏板加征最高达3521%的天量关税后,美国再次迎来股债汇三杀以及美元指数大跌的惨象。面对这种惨象,川普公开说,“美元正在崩溃,很快将不再是世界标准,这是美国200年来最大的失败”,同时强调这是拜登政府造成的后果,也是美联储不作为的结果。然后,川普通过记者会回答了一系列问题,似乎又突然来了个180度大转弯:一是宣称他不会对中国强硬,将降低对中国的关税。他不仅不提已经公布的245%关税税率,还说1...
2025-04-24 14:08:18 要把几件事川普真认怂 -
特朗普要降关税?这是他的更大阴谋!面对美国,中国死抓一点就能赢!
原创:占豪来源公众号:占豪微信ID:zhanhao668特朗普要降关税?这是他的更大阴谋!特朗普真的要大幅降低对华关税了?谁说的?特朗普说的!据媒体报道,美国总统特朗普在谈到与中国的关税战时表示,我们与中国相处得不错,同中方谈判时不会采取强硬态度。对华145%关税确实很高,协议达成后美对华关税将大幅下降,但不会降至零。在特朗普发表这些言论后,美国股市应声大涨,道琼斯指数两天涨幅一度超过2200点。基于特朗普的这些言论,以及美国股市的表现,于是就有不少人有了乐观情绪,认为特朗普可能顶不住了要跪,他自己要主动...
2025-04-24 14:08:16 他的这是就能 -
一个令人震惊的消息:俄国或许不愿停战!
原创: 徐吉军来源公众号:汉唐智库微信ID:hantangzhiku2025年4月22日,乌克兰总统泽连斯基表示,如果俄罗斯首先同意全面停火,基辅准备与莫斯科直接谈判结束战争。这标志着乌克兰对战争形势的判断出现了重大转折。自俄乌战争2022年2月全面爆发以来,乌克兰一直拒绝与克里姆林宫进行任何直接对话。泽连斯基说,我们在复活节再次看到了这一点,他们可以在需要的时候减少空袭……如果俄罗斯人准备好完全停火,那么在完全停火之后,我们准备好与他们进行任何形式的谈判。荒谬的是,泽连斯基强调,乌克兰永远不会承认被占领...
2025-04-24 14:08:12 俄国不愿消息 -
特朗普称美对华关税或将大幅下降,认怂的艺术!
来源:大白话时事微信号:xhdb66从4月7日开始,持续升级的贸易战,以及特朗普近期说要撤换美联储主席鲍威尔的言论,让美国金融市场持续经历股债汇三杀,这给特朗普带来巨大压力。于是,昨天特朗普开始认怂。(1)认怂的艺术据美国《国会山报》报道,4月22日,特朗普在椭圆形办公室对记者说,“145%关税是非常高的。不会有那么高的……它将大幅下降,但不会是零。”此外,据美联社报道,4月22日,美国财政部长贝森特在一次闭门会议上表示,与中国的持续关税对抗是不可持续的,他预计中美贸易战将出现降级。他还提到,目前两国谈判...
2025-04-24 14:08:10 关税或将大幅 -
打都不怕,怕和你谈?
作者:叶立华来源:求实处(ID:gh_a2f5eb6a8f0c)美国总统特朗普对记者称,对华145%关税确实很高,协议达成后美对华关税将大幅下降,但不会降至零。 美财长贝森特表示,当前局势本质上是贸易禁运。美国目标并非与中国脱钩,两国可能在两到三年内达成一项全面协议。 关税加了这么久,特朗普现在觉得有点高了,想要降低关税,但是说不会降低到零,贝森特也说不想和中国脱钩,前倨后恭的样子实在是给美国这个超级大国丢人,大有把美国信誉当非洲国家来玩的态度。 但是我们不能被这两人虚情假意的表态蒙蔽,他们所谓可以谈,一...
2025-04-24 14:08:07 和你

