雪藏10年!临安第一豪宅,惨遭法拍
东方楼书,看透房地产和买房卖房众生相!《雪藏10年!临安第一豪宅,惨遭法拍》是一篇关于临安,雪藏,豪宅的文章。东方小楼引用该文章仅仅为了更好的传播房地产相关知识,让大家在房地产买卖中有更清晰的目的和执行策略!不代表小楼认同其观点,本着从不同侧面看问题的态度,我们会引用很多大咖的观点!

这两天,阿里法拍平台上架了8套临安的豪宅。
这批房源位于锦北街道的麒麟山庄,起拍总价最低1561万,最高达2218万。这样的价格,在临安绝对算是一线豪宅。

这8栋豪宅均为独栋别墅,户型面积大。最小的一套建筑面积约806㎡,最大的一套达到了近1146㎡。
对于普通人来说,买一套150㎡以上的房子,可能会成为终生的奋斗目标。
住200㎡以上的房子,肯定算得上人群中的翘楚,住300㎡以上更是人中龙凤一般。
即便是农村自建房,能建到400-500㎡就是村里最大的房子了。
1000㎡左右的别墅,大多数人只能在电视电影里面看看了。
透明售房网显示,麒麟山庄早在2010-2012年就申请备案,当时的单价为20000元/㎡,总价2000万上下。
无论单价还是总价,麒麟山庄当年绝对算得上临安的“第一豪宅”。十年过去,它的价格并未变动,但依然算得上顶尖。

更难得的是,这个麒麟山庄位于青山湖的一个半岛上,坐享一线湖景,视野好的房子甚至可以做到270度环视青山湖。
环境如此优异的超大面积独栋别墅,放眼整个杭州也并不多见。
那这批房子为什么会被拍卖呢?

查看这8套法拍别墅的详细资料,不难发现它们的权利人都是同一个——浙江锦天房地产开发有限公司。
而锦天房产正是麒麟山庄小区的开发商,所以这批房子并未出售过,目前还是一手房状态。
从透明售房网查询得知,麒麟山庄共有37幢别墅,目前绝大多数都是“限制房产”的状态。
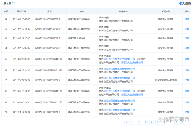
天眼查显示,锦天房产目前已涉及到多达87条开通公告,基本都是“被告人”状态,原告则是园林建筑等单位。

可见,该楼盘开发商应该陷入了资金问题。
进一步查询,锦天房产背后的大股东为宝能地产。
宝能在杭州的项目并不多,也许很多人并不认识,但关注房地产或财经新闻的人,一定还记得当年的“宝万之争”。
当年的宝能实力有多强?2015年前后,宝能系通过“前海人寿”,斥资300亿大举购入万科股票,企图成为第一大股东控制万科。

这一“野蛮”操作吓坏了万科,作为万科掌门人的王石直接斥责宝能还“不够格”。
王石拒绝的理由,其中一个就是对宝能“高杠杆”获得资金的担忧。
如今看来,这样的担忧并不多余。2021年以来,宝能系陆续传出“暴雷”风声。
相关媒体报道,截止2022年一季度,至少有63家金融机构起诉宝能,涉案金额高达723.22亿元。
宝能系、锦天房产的资金链问题,究竟是否和本次麒麟山庄别墅法拍有关,我们无法获得更多详情。
还是来看看这些2000万级别的临安顶级豪宅,到底长啥样。

从科技大道转入民太线,车子一直往青山湖方向开,路况也越来越“差”。
接近尽头的路段,道路比较狭窄,路面没有标示线,两边杂草丛生,似乎并不太像住千万豪宅的有钱人回家的路。

当然也说明前面的豪宅,还没什么人入住。
沿着一条泥泞弯曲的山路,终于抵达了麒麟山庄,眼前的别墅确实让人眼前一亮!


全石材的外立面,精致的线条,造型变化多样,欧式风格浓郁,每栋楼都是双车库。
随便进一栋看看,室内的空间大得惊人。
看这个超大超高的车库,如果不停两辆劳斯莱斯和法拉利,都有点对不起它。

由于多年荒废,许多别墅的入口几乎已经被杂草掩埋。

没有人住,这里自然成了小动物的天堂。随便在园区里走走,都会吓到两边灌木丛里的小鸟。
下面这栋房子的风水一定很好,一棵玉兰树的枝条在大门前压弯了腰,仿佛迎客松一般。树枝上头正好被小鸟做了一个窝,这不是喜上门楣吗?


既然来了,就探一探本次法拍最大面积的豪宅。
走进F3栋别墅大门,直接被这个大厅震撼到。


3层楼多高,面宽超大的挑空大厅,两侧盘旋而上的楼梯,即便是毛坯房都能感受它的霸气,装修完一定是宫殿级别的存在。
房子分地上2层地下1层,这种空间感尺度感有点压迫没见过世面的我,在房子里到处是我脚步的回声。
贫穷限制了我的想象力,除了客餐厅卧室,还有大片大片的空间不知道能用来干啥。
走出阳台,正片青山湖景观尽收眼底,而室内的大多数房间,也都能把青山湖变成窗景。

虽然这房子“只要”2218万起拍,但如果真要入住,装修费用可能也不比房子的价款低。

房子太大的主要弊端,就是容易迷路。
比如下面的小鸟,不知从那个入口钻进屋内,就再也没找到回家的路。另一只更惨,应该是很多年前就飞进来,直到只剩一副挂架也没人知晓。


这些荒废的别墅内,还有满地的蜻蜓、黄蜂等迷失方向的昆虫。
这也许就是大自然的宿命,你若对它不敬,它就会慢慢吞噬你。
山脚下的这片豆科藤本植物,看似柔嫩可掐,实际危机早已埋下。

依靠柔软的藤条慢慢往上攀爬,每爬到一棵树顶就用绿叶将其覆盖,让大树缺少阳光而死。最终它将一步一步侵蚀整片山头。
临走前,碰上几个开着路虎前来看房的人,本想进A区看看,却被集装箱内走出的保安拦住。
保安义正严词地说:没有人带不能进去,如果没人带你们,说明你们级别还不够!
众人摇摇头,各自回家散去。
以上就是关于《雪藏10年!临安第一豪宅,惨遭法拍》的全部内容,如果《雪藏10年!临安第一豪宅,惨遭法拍》能够帮助到您,不胜感激!举起您高贵的手将我们收藏吧!东方楼市小楼编辑将不胜感激!

